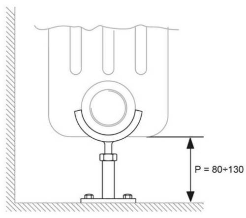
Pied pour radiateur Tesi
L'utilisation du pied support au sol doit être combiné avec les chelas au premier et au dernier élément dans la partie haute du radiateur.
Code
Réf. fournisseur
Hauteur
Couleur
369142
AMENSPAV01
80 à 130mm
Blanc
Connectez-vous
pour voir les prix et stocks disponibles.
Fiche PDF